新闻动态

  • 流量计测量仪表原理与故障处理

    流量是天然气生产过程中一个重要的参数。流量就是在单位时间内流体通过一定截面积的量。 流量分为瞬时流量和累计流量。瞬时流量是指单位时间内流过管道某一截面流体的数量,简称流量。累积流量是指在某一段时间内流过管道的流体数量总和,即瞬时流量在某一段时间内的累积值,又称为总量。

    2025-09-25 科技股份有限公司

  • 涡街流量计和涡轮流量计的区别

    涡轮流量计和涡街流量计虽然只有一字之差,但是结构、原理却截然不同。选择涡街流量计和涡轮流量计时,需要考虑多个因素,包括应用场景、介质类型、精度要求、成本以及安装和维护的便利性。

    2025-01-17 科技股份有限公司

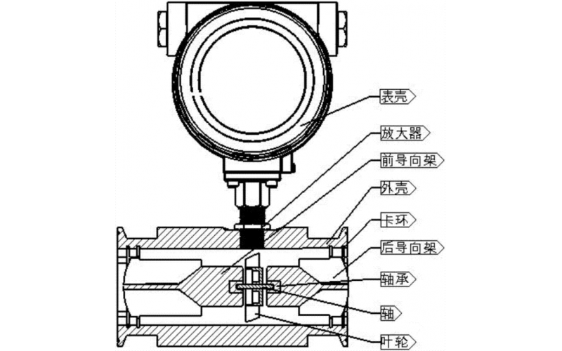
  • 涡轮流量计显示流量为零

    涡轮流量计简介: 涡轮流量计一般由传感器和显示仪两部分组成,也可做成整体式。 涡轮流量计和容积式流量计、科里奥利质量流量计称为流量计中三类重复性、精度最佳的产品,作为十大类型流量计之一,其产品已发展为多品种、多系列批量生产的规模。

    2024-08-14 科技股份有限公司

  • 金属转子流量计知识点及要素

    金属转子流量计知识点及要素

    2024-04-07 科技股份有限公司

  • 仪表常用设备点检及维护技能知识

    仪表常用设备点检及维护技能知识

    2024-04-07 科技股份有限公司

  • 天然气流量仪表的检定趋势

    天然气流量仪表的检定趋势

    2023-10-09 科技股份有限公司

  • 流量计与管道连接的几种方式

    流量计与管道连接的几种方式

    2023-08-10 科技股份有限公司

  • 正确选择流量计,五大方面缺一不可!

    正确选择流量计,五大方面缺一不可!

    2023-07-24 科技股份有限公司

上一页12下一页 转至第
首页
产品
新闻
联系