高温天,配电房巡检运行注意事项指南分享
2023-04-21 科技股份有限公司
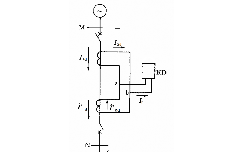
电力变压器的保护配置知识分享
2023-04-20 科技股份有限公司
停泵水锤危害很大,如何防护?
孔板流量计节流件方向装反会有什么影响
高炉双顶压控制知识分享
2023-04-19 科技股份有限公司
KWZK-WHY-Q系列气动球阀工作原理及常见故障知识分享
电除尘内部检修清灰知识分享
FF总线组态及二次风门问题处理经验分享
2023-04-18 科技股份有限公司