分享常用金属材料硬度对照表
2023-02-11 科技股份有限公司
锅炉“干锅”有什么危害?如何处理?
热电偶补偿原理知识分享
2023-02-06 科技股份有限公司
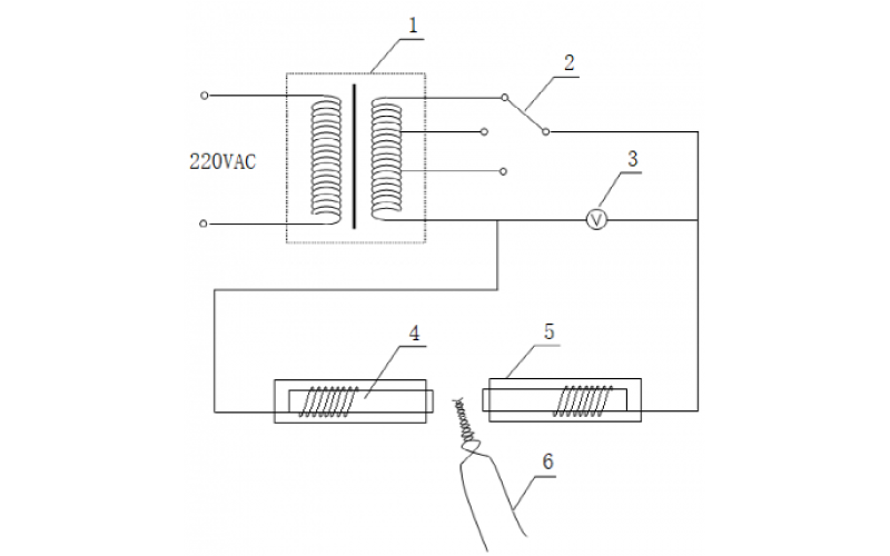
一种贵金属热电偶焊接装置
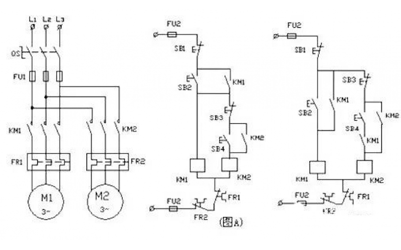
电动机控制线路故障查找方法
中空液压扳手工作头怎样选配?
2023-01-13 科技股份有限公司
断路器小电流开断知识分享
绝缘电缆中压开关柜应用